HQ-LUGB系列智能涡街流量计
一、智能涡街流量计概述
智能涡街流量计是基于卡门涡街原理而研制的--种具有国际先进水平的新型流量计。由于它具有其它流量计不可兼得的优点,自七十年代以来得到了迅速发展,据在关资料显示,现在日本,欧美等发达国家使用智能涡街流量计的比例大幅度上升,已广泛应用于各个领域。将在未来流量仪表中占产导地位,是孔板流量计zui理想的替代产品。智能涡街流量计适用于测量过热蒸汽、饱和蒸汽、压缩空气一般气体、水和液体的质量流量和体积流量。
本公司生产的HQ-LUGB型智能涡街流量计,有远传型,现场显示型,温压自动补偿型。可广泛应用于化工、石油、冶金、轻工、环保、市政、电力等部门。
产品有以下特点:
1、结构简单牢固,无可动部件,可靠性高,长期运行十分可靠。
2、安装简单,维护十分方便。
3、检测传感器不直接接触被测介质,性能稳定,寿命长。
4、测量的是与流量成正比的脉冲信号,无零点漂移,精度高。
5、测量范围宽,量程比可达1: 10。
6、压力损失较小,运行费用低,更具节能意义。
7、采用超低功耗技术,电池供电可运行两年以上。
8、温压补偿一体化设计,同时显示流量值与累积流量值,温度、压力值,不必轮流切换。
二、智能涡街流量计结构与工作原理
涡街流量计产品细节

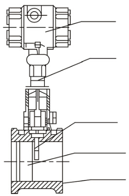
1、HQ-LUGB智能涡街流量计的结构,见(图1):  

2、工作原理
介质以一定流速流过三角柱体时,在三角柱体两端后产生一个交替的旋涡带,称之为“卡门涡街”(图2),于是在发生体两端产生压力脉动,从而使检测体产生交变应力,封装在检测探头体内的压电元件在交变应力的作用下,产生与旋涡同频率的交变电荷信号,放大器将这种电荷信号进行放大、滤波、整形成方波送至积算仪进行处理和显示。在一定雷诺数范围内(2X104~7x106)旋涡的释放频率f与流速V及旋涡发生体的迎流面宽度d之间的关系可用下式表示: f=Sr.v/d, 式中: Sr为斯特劳哈尔数,在曲线的Sr=0.16的平直部分只要测出旋涡频率f就可测出流体流速。从而达到测量流体流量的目的。(图3)

三、智能涡街流量计技术参数
★测量介质:液体、气体、过热/饱和蒸汽
★测量范围:正常工作范围,雷诺数为20,000~ 7, 000, 000;测量可能范围雷诺数为8, 000 ~ 7, 000,
★准确度:a.液体,指示值的+1.0%;
b.气体,指示值的+1.5%;
c.蒸汽,指示值的土1.5%;
★重复性:准确性的1/3;
★输出信号:a. 三线制电压脉动 低电平; 高电平:大于4V:占空比50%
b.二线制电流4mA ~ 20mA
c.三线制电流4mA ~ 20mA
d.RS-485通讯接口
★工作电源:外电源; +24VDC;内电源3.6V锂电池
★介质温度:普通型: -40℃~ +130℃;
高温型: -40℃~ +250℃;
            特高温型:-10℃~ +350℃可选;
防爆型: -40℃~ +80℃;
★工作压力:2.5MPa(注: 应用户要求,可提供其它压力等级的流量计,需定做)
★大力压力: 86KPa ~ 106KPa;
★壳体材质:a.碳钢;b.不锈钢(1Cr18Ni9Ti)
★规格(管道内径):20、25、32、40、50、65、80、100、125、150、200、250、300
★环境温度: -30℃~ +60℃
★相对温度: 5% ~ 95%
★保护等级: IP65
★防爆类型:隔爆型;防爆标志:Exd I BT4
★工作状况下流量范围(单位: m3/h)
无线远传型
◆网络优,搭载Cat-1网络,10Mbps下载,5Mbps上传,满足80%的数据传输应用 场景;
◆延迟低,4G网络承载,毫秒级延时体验;覆盖广,基于现有运营商4G网络,稳 定性高;
◆双卡单待,内置贴片SIM卡,可免插卡使用;配合外置卡槽实现双卡切换,联 网有保障;
◆选用RS485串口,支持5~16V宽电压供电,适配更多应用场景;
◆具有体积小,便安装; 数据量小,每月数据流控制在100M左右;
◆支持网络透传模式、HTTPD 模式、短信透传模式三种模式,可发送中英文短信;
◆网络透传模式拥有 4 路独立 socket,支持各路 socket 备份,支持KEEP-ALIVE 机制,增强连接稳定性;
◆每路连接支持 20 包数据缓存,每包数据***大 4K,支持注册包,心跳包数据;
 
  | 描述 |   涡街流量计 (电池供电无线远传式) | 
| 支持移动 LTE Cat-1 | 
| 支持联通 LTE Cat-1 | 
| 支持电信 LTE Cat-1 | 
| 供电范围 5V~16V,推荐值 12V/1A | 
| 平均 67mA, ***大:289mA(12V) | 
| 卡 1:普通 SIM 卡(小卡),可插入到产品外置卡槽; 卡 2:产品内置贴片卡,出厂免费赠送流量,可续费。 | 
| 预留 USB 接口,暂不开放。 | 
| SMA 外螺内孔 | 
| -25℃~ +75℃ | 
-35℃~ +85℃ 注:当设备工作在扩展温度范围时,设备仍能保持正常工作状态, 具备语音短信和数据传输等功能;不会出现不可恢复的故障;射频频谱、网络基本不受影响。仅个别指标如输出功率等参数值可能会超出 3GPP 标准的范围。当温度返回至正常温度范围时,设备的各项指标仍符合 3GPP 标准。 | 
| -40℃~ +85℃ | 
| 5%~95%(无凝露) | 
| 3GPP Release 13 CAT1 下行 7.5 Mbps,上行 1 Mbps | 
| 3GPP Release 13 CAT1 下行 10 Mbps,上行 5 Mbps | 
| Band 34/38/39/40/41 | 
| Band 1/3/5/8 | 
| +23dBm(Power class 3) | 
|
| +23dBm(Power class 3) | 
|
                  特色功能 | 域名解析 DNS | 支持 | 
| 简单透传方式 | 支持 TCP Client /UDP Client | 
| 心跳数据包 | 支持自定义心跳包/SN 心跳包/ICCID 心跳包/IMEI 心跳包/LBS | 
| 注册包机制 | 支持自定义注册包/SN 注册包/ICCID 注册包/IMEI 注册包 | 
| 套接字分发协议 | 支持 | 
| FOTA 升级 | 支持 | 
| Socket 备份 | 支持 | 
| 基站定位 | 支持 | 
| FTP 他升级协议 | 支持 | 
| 安全机制 | 支持 | 
| NTP 校时功能 | 支持 | 
| 蓝牙连接 | 微信扫描产品上的二维码,进入我司的微信小程序即可通过蓝牙连接进行产品参数设置、串口调试、一键检测等操作 | 
| 双 SIM 卡切换 | 支持外置卡优先模式、双卡备份模式、单卡锁定模式 | 
见表1(注:如果用户要求下限低,请来电告之,可定做)

四、智能涡街流量计基本结构和安装尺寸
流量计由表体、支柱和放大显示装置组成。有两种与管道连接的方式,即法兰卡装方式和法兰连接方式。图2为法兰卡装示意,图3是法兰连接示意,表1、表2为有参考尺寸。

表2法兰卡装参考尺寸(mm)

表3法兰连接参考尺寸(mm)

五、智能涡街流量计的安装
正确地选择安装点和正确安装流量计都是非常重要的环节,若在安装环节失误轻者影响测量精度,重者会影响流量计的使用寿命,甚至会损坏流量计。
5.1对直管段的要求
流量计对安装点的上下游直管段有一定要求,否则会影响测量精度。

若流量计安装点的上游有渐缩管,流量计上游应有不小于15D的等径直管段,下游应有不小于5D的等径直管段。
若流量计安装点的上游有渐扩管,流量计上游应有不小于18D的等径直管段,下游应有不小于5D的等径直管段。
若流量计安装点的上游有90°弯头或下形接头,流量计上游应有不小于20D的等径直管段,下游应有不小于5D的等径直管段。
若流量计安装点的上游在同一平面上有二个90°弯头,传感器上游应有不小于25D的等径直管段,下游应有不小于5D的等径直管段。,
流量调节阀或压力调节阀尽量安装在流量计的下游5D以远处,若必须安装在流量计的上游,流量计上游应有不小于25D的等径直管段,下游应有不小于5D的等径直管段。
流量计上游有活塞式或柱塞式泵,活塞式或罗茨式风机、压缩机,流量计上游应有不小于 25D等径直管段,下游应有不小于5D的等径直管段。
特别注意:流量计安装点的上游较近处若装有阀门,不断地开关阀门,对流量计的使用寿命影响极大,非常容易对流量计造成长久性损坏。流量计尽量避免在架空的非常长的管道上安装,这样时间一长后,由于流量计的下垂非常容易造成流量计
与法兰间的密封泄漏,若不得已安装时,必须在流量计的上下游2D处分别设置管道紧固装置。
5.2、对配管的要求
流量计对安装点的上下游直管段有一定要求,否则会影响测量精度。
流量计安装点的上下游配管的内径应与流量计内径相同,其应满足下式的要求。
0.98DN≤D≤1.05DN式中:DN-流量计内径
D-配管内径
配管应与流量计同心.同轴偏差应不大于1.05DN。
流量计与法兰间的密封垫不能凸入管道内,其内径可比流量计内径略大
5.3、对方管道的要求
为方便检修流量计,zui好为流量计安装旁通管。另外,在需清洗的管道上: 或所安装流量计的管道内的流体不能为检修流量计而停供的情况下,必须安装旁通管。

5. 4、对管道振动的要求
流量计尽量避免安装在振动较强的管道上,若不得已要安装时,必须采取减振措施,在流量计上下游2D处分别设置管道紧固装置,并加防振垫。

5.5、对外部环境的要求
流量计避免安装在温度变化很大的场所和受到设备的热辐射,若必须安装时,须有隔热通风的措施。流量计避免安装在含有腐蚀性气体的环境中,若必须安装时,须有通风措施。
流量计zui好安装在室内,必须安装在室外时,须有防潮和防晒的措施,注意水是否会顺着电缆线流入放
大器盒内,接线时,在电气接口外部将电缆线弯成U形。
安装流量计的周围须有充裕的空间,应有照明灯和电源插座,以便安装接线和定期维护。流量计的接线位置要远离电噪声,如有功率变压器、电动机和电源等。
流量计安装点附近不能有无线电收发机存在,否则离频噪声会干扰流量计的正常使用。
六、智能涡街流量计的选型
6.1仪表的正确选型是仪表正常应用的关键,实际应用中,大多的故障是由于仪表的选型不合理造成的。详细了解现场应用的工况条件及介质参数,选择合适的压力、温度、防护、防爆等级及材质、结构方式、以保证仪表能运行在zui佳状态。
6.2仪表使用的zui大流量应尽可能小于0.5Qgmax(仪表上限流量)
6.3仪表公称口径按工况zui大流量选择,如果被测流量是以标准状态(20℃,101.3kPa)流量,则需进行工况流量换算,在根据表1选择适当的口径。
(1)智能涡街流量计出厂前已按国家标准校准了流量范围,一般情况下,用户不用核算;必要时,用户可按下式核算出工况下介质流量下限值。
Qgmin=QgminX
式中: Qgmin工况条件下,拥护流量下限值:
Qgmin表1参考条件下zui小流量:
ρ tab参比条件下介质密度[液体(水)ρtab=1000 (kg/m3),气体(空气) ]ρtab= (1.205 (kg/ m3),干饱和蒸汽ρtab=2.129[ (kg/ m3) ];ρg工况条件下介质密度(kg/ m3)。
(2)气体将标准状态(101. 3kPa,20C)密度转算成工况状态下密度的计算;
ρg= pn.[(101.3+Pg)/ 101.3].[(273+20)/(273+T)]式中:pg工况条件下介质的密度(kg/ m3)
Ρn:标准状态下(101. 3kPa,20C)介质密度(kg/ m3) ;
Pg工况压力(kPa);T工况温度(℃);
(3)计算工况流量(Qg);
a)由标准状态下的体积流量计算工况状态下的体积流量:Qg=Qg (pn/ pg)
Qg=Qn.[101 .3/(101. 3+Pg)].[(273+T)/<273+20)]
式中:Qg工况流量(m3/h);
      Qn标况流量(m3/h);
      ρg工况条件下介质的密度(kg/ m3)
ρn标况下介质的密度(kg/ m3) ;Pg工况压力(kPa);
      T工况温度(℃)
      b)由质量流量计算工况的流量(Qg) ;
      Qg=Qm/g
式中:Qg工况流量(m3/h);
Qm质量流量(m3/h) ;
ρg工况条件下介质的密度(kg/ m3);
(4) 当测量液体时,为防止生气穴和气蚀,管道内的实际工作压力应符合下式要求;
P≥2.7△P+1.3P1
式中:P所允许的zui小管道压力(优良压力MPa);
△P压力损失(MPa);
P1该液休工作温度下对应的饱和蒸气压力(MPa 优良压力);
△P可由下式计算:△P=1.079X 106p.v2
式中: p被测液体的密度(kg/ m3);
V被测液休的流速(m/s);
注:气体指常温常压下的空气(t=20C ,P=0. IMPa);蒸气指干饱和蒸气(t=143C ,P=0.4MPa)
七、智能涡街流量计订货须知
1、用户订购本产品时要注意根据管道公称直径、流量范围、公称压力、介质zui大压力、介质温度范围、环境条件选择合适的规格,在危险场所使用的必须注明防爆等级要求。
2、流量计一般为基本型,带工况脉冲输出,若需其它附件及输出功能,请在订货时注明。3.用户在订货时,请按照下列格式,详细正确地填写。
HQ-LUGB/E系列涡街流量计选型表
| HQ-LUG | 涡街流量计 | 
| 检测方式 | B | 压电式传感器 | 
| E | 电容式传感器 | 
| 类型 | A | 涡街流量计(普通型) | 
| B | 温压补偿式涡街流量计 | 
| C | 法兰对夹式涡街流量计 | 
| D | 分体式涡街流量计 | 
| E | 插入式涡街流量计 | 
| F | 卫生卡箍式涡街流量计 | 
| G | 防腐式涡街流量计 | 
| H | 螺纹式涡街流量计 | 
| I | 分流旋翼式蒸汽流量计 | 
| K | 无线远传式涡街流量计 | 
| L | 太阳能供电式涡街流量计 | 
| 安装方式 | 1 | 法兰连接型 | 
| 2 | 法兰卡装型 | 
| 3 | 简易插入型 | 
| 4 | 球阀插入型 | 
| 5 | 高压焊接型 | 
| 6 | 螺纹连接型 | 
| 7 | 卡箍型 | 
| 测量介质 | 2 | 液体 | 
| 3 | 气体 | 
| 4 | 蒸汽 | 
| 公称通径 | 00 ... A0 | DN25 ...             (详见传感器公称通径编号对照表) DN1000 | 
| 防爆型式 | □ | 无防爆 | 
| B | 防爆EX | 
| 输出信号 | 1 | 脉冲输出 | 5 | 压力补偿型 | 
| 2 | 4-20mA | 6 | 温压补偿型 | 
| 3 | 电池供电 | 7 | RS-485通讯 | 
| 4 | 温度补偿型 | 8 | HART协议 | 
| 介质温度 | T1 | -40~150 | T3 | -40~350 | 
| T2 | -40~250 | T4 | -40~450 | 
| 压力规格 | N1 | 1.6mpa | N3 | 4.0mpa | 
| N2 | 2.5mpa | N4 | 高压定制 | 
| 供电方式 | 1 | DC24V | 4 | 电池+DC24双供电 | 
| 2 | AC220V(配电源转换器) | 5 | 太阳能供电 | 
| 3 | 电池供电 | 
  | 
  | 
| 上限流量 | (n) | 上限流量(量程)m3/h  | 
| 阀体材质 | 1 | 不锈钢304 | 
| 2 | 不锈钢316 | 
| 测量精度 | 1 | 1.5级 | 
| 2 | 1.0级 | 
| 公称通径DNmm | 15 | 20 | 25 | 32 | 40 | 50 | 65 | 80 | 100 | 125 | 150 | 
| 标记号 | 00 | 01 | 02 | 03 | 04 | 05 | 06 | 08 | 10 | 12 | 15 | 
| 公称通径DNmm | 200 | 250 | 300 | 350 | 400 | 450 | 500 | 600 | 700 | 800 | 
  | 
| 标记号 | 20 | 25 | 30 | 35 | 40 | 45 | 50 | 60 | 70 | 80 | 
  | 
| 插入式公称通径DNmm | 200 | 300 | 400 | 500 | 600 | 800 | 1000 | 1200 | 1500 | 
  | 
  | 
| 标记号 | A0 | A1 | A2 | A3 | A4 | A5 | A6 | A7 | A8 | 
  | 
  | 
 
涡街流量计产品展示
智能涡街流量计安装示意图

智能涡街流量计现场实物安装图

智能涡街流量计相关证书